
近日,东莞市医疗保障局对东莞市长安镇乌沙医院有限公司(下称“乌沙医院”)作出行政处罚,因违规使用医保基金对其罚款0.265619万元(2656.19元)。通报明确,此次违规行为不存在欺诈骗保情形,处罚依据为《医疗保障基金使用监督管理条例》。
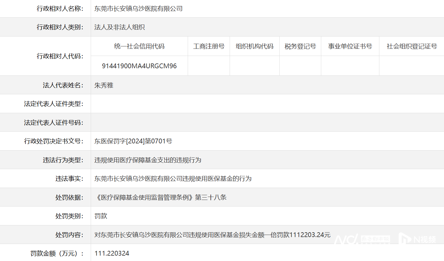
南都记者梳理发现,这并非乌沙医院首次因医保基金使用问题被罚。2024年7月,该院就因同样违规使用医疗保障基金支出的问题,被东莞市医保局处以111.220324万元的罚款中金汇融,两次处罚间隔不足一年。

针对此次违规具体问题、整改措施及后续改进计划等事宜,南都记者已致电乌沙医院进行采访,但截至发稿,该院尚未对此事作出任何回应。
天眼查APP及医院官网信息显示,东莞市长安镇乌沙医院有限公司是一家民营综合性医疗机构,成立于2016年。值得关注的是,该院拥有多项医保相关资质,既是东莞市社保定点AA级医院,也是跨省异地就医联网直接结算医疗机构。
采写:南都N视频记者 黄芳芳
怀远策略配资提示:文章来自网络,不代表本站观点。